滑接式铝母线槽
滑接式铝母线槽,扬州市天宝滑线电气有限公司专业生产制造,滑接式铝母线槽品种齐全,滑接式铝母线槽成套供应,批发零售,价格优惠!
一、适用范围
滑接式铝母线槽传输电流大、安全性能好、结构紧凑、占用空间小、安装方便。它适合于造船、冶金、化工等企业的标准厂房或设备较密集的车间。对工艺变化周期短的车间尤为适宜,母线槽还大量用于高层民用建筑。

二、产品特征
本产品是按国标JB8511-1996、JB/T500088-1997要求制造,
适用于额定电压660V/380V频率50HZ/60HZ,额定电流量*大4000A。
污染等级为3级,外壳防护等级IP55,海拔高度小于2000m。
|
三、选用说明
目前铜铝材成本差比大。铝母线槽的选用更为现实,按额定电流选择铝母线槽。
铝母线槽额定电流:
|
|
型号规格
|
TBLM-200
|
TBLM-250
|
TBLM-315
|
TBLM-400
|
TBLM-500
|
TBLM-630
|
TBLM-800
|
|
额定电流
|
200A
|
250A
|
315A
|
400A
|
500A
|
630A
|
800A
|
|
型号规格
|
TBLM-1000
|
TBLM-1250
|
TBLM-1600
|
TBLM-2000
|
TBLM-2500
|
TBLM-3150
|
TBLM-4000
|
|
额定电流
|
1000A
|
1250A
|
1600A
|
2000A
|
2500A
|
3150A
|
4000A
|
|
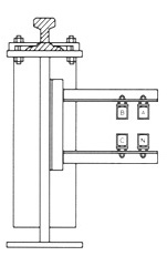
四、安装方式
|
水平排放
|
垂直叠放
|
|
全梁
|
钢梁
|
全梁
|
钢梁
|
|
|
|
|
|
|
母线系统安装方式示意图(支架安装间距一般不大于2m,高度不低于2.2m)
|
|
|
|
|
|
五、部件介绍
部件规格分别对应母线的规格如表
|
|
部件选型
|
TBLM-200
|
TBLM-250
|
TBLM-315
|
TBLM-400
|
TBLM-500
|
TBLM-630
|
TBLM-800
|
|
部件电流
|
(×××)-1
|
(×××)-2
|
|
母线规格
|
TBLM-1000
|
TBLM-1250
|
TBLM-1600
|
TBLM-2000
|
TBLM-2500
|
TBLM-3150
|
TBLM-4000
|
|
部件选型
|
(×××)-3
|
(×××)-4
|
|
|
|
|
5.1 TBLM铝母导线
|
5.3 TBDK悬挂部件
|
|
|
TBLM铝母导线
|
|
规格
|
TBLM-1
|
TBLM-2
|
TBLM-3
|
TBLM-4
|
|
H
|
18
|
34
|
56
|
80
|
|
W
|
24
|
28
|
44
|
64
|
|
|
|
TBDK悬挂部件
|
|
规格
|
TBDK-1
|
TBDK-2
|
|
H
|
35
|
66.5
|
|
W
|
40
|
47
|
|
|
5.2 TBPS防护套
|
|
|
|
TBPS防护套
|
|
规格
|
TBPS-1
|
TBPS-2
|
TBPS-3
|
TBPS-4
|
|
H
|
24
|
43
|
64
|
88.5
|
|
W
|
30
|
37
|
52.5
|
72.5
|
|
|
TBDK悬挂部件
|
|
规格
|
TBDK-3
|
TBDK-4
|
|
H
|
92
|
116
|
|
W
|
70
|
100
|
|
|
|
|
|
5.4 TBLJ连接盒
|
5.5 TBGD供电盒
|
|
|
|
TBLJ连接盒
|
|
规格
|
TBLJ-1
|
TBLJ-2
|
TBLJ-3
|
TBLJ-4
|
|
L
|
180
|
238
|
330
|
560
|
|
W
|
35
|
43
|
74
|
150
|
|
H
|
60
|
94
|
160
|
168
|
|
|
|
TBGD供电盒
|
|
规格
|
TBGD-1
|
TBGD-2
|
TBGD-3
|
TBGD-4
|
|
L
|
180
|
238
|
330
|
560
|
|
W
|
35
|
43
|
74
|
150
|
|
H
|
96
|
120
|
190
|
268
|
|